精密光亮管機械性能靜拉伸試驗的特點與意義及詳細介紹
精密光亮管機械性能靜拉伸試驗的特點與意義及詳細介紹 一、靜拉伸試驗的特點與意義 注:GB/T228.1-2002及以后版本的《金屬材料 室溫拉伸試驗方法》標準與舊標準指
精密光亮管機械性能靜拉伸試驗的特點與意義及詳細介紹
一、靜拉伸試驗的特點與意義
注:GB/T228.1-2002及以后版本的《金屬材料 室溫拉伸試驗方法》標準與舊標準指標、名稱和符號差異較大,又考慮到文中引用的資料、數據形成的歷史跨度長。因此,本文仍引用舊標準表述。
精密光亮管靜拉伸是一種簡單的力學性能試驗,在測試標距內,受力均勻,應力應變及其性能指標測量穩定、可靠、理論計算方便。通過靜拉伸試驗,可以測定材料彈性變形、塑性變形、和斷裂過程中最基本的力學性能指標,如正彈性模量E、屈服強度σ0.2、屈服點σs、抗拉強度σb、斷后延長率δ及斷面收縮率ψ等。靜拉伸試驗中獲得的力學性能指標,如E、σ0.2、σs、σb、δ、ψ等,是材料固有的基本屬性和工程設計中的主要依據。
二、靜拉伸試樣


靜拉伸試樣分為比例試樣和非比例試樣兩種。圓截面比例試樣是按公式
l0=K?(S0)
計算而得到試樣尺寸的。式中的l0為標距長度;S0為試樣原始面積;系數K通常為5.65或11.3,前者稱為短試樣,后者稱為長試樣。據此,長、短圓試樣的標距長度l0分別為 10d0和5d0 (d0為圓試樣直徑)。除圓截面試樣外還有板狀試樣,常用的試樣有六種形式,如圖1所示。灰鑄鐵和球墨鑄鐵的靜拉伸試樣如圖2所示,尺寸見表1和表2 。

▲圖1 圓形及板狀拉伸試樣形狀
a)~d)為圓形拉伸試樣 e)、f)為板狀拉伸試樣

▲圖2 灰鑄鐵和球磨鑄鐵拉伸試樣形狀
a)灰鑄鐵拉伸試樣 b)球墨鑄鐵拉伸試樣
▼表1 灰鑄鐵拉伸試樣尺寸(mm)

▼表2 球磨鐵拉伸試樣尺寸(mm)

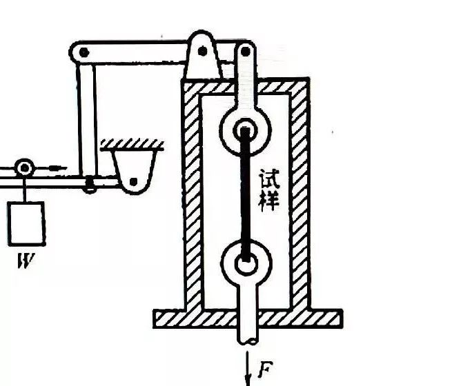
三、拉伸試驗機

計算機控制靜拉伸試驗機
拉伸試驗機一般由機身、加載機構、測力機構、載荷-伸長記錄裝置和夾持機構五部分組成。其中加載機構和測力機構是試驗機的關鍵部位,這兩部分的靈敏度及精度高低,能正確反映試驗機質量的優劣。常用的拉伸試驗機的加載機構一般分為機械式(圖3)和液壓式(圖4)兩種。

▲圖3 機械式加載

▲圖4 液壓式加載
測力機構一般有杠桿式測力(圖5)、擺錘式測力(圖6)或者兩者的結合。比較先進的拉伸試驗機大多采用電阻應變載荷傳感器測力(圖7)。

▲圖5 杠桿式測力

▲圖6 擺錘式測力

▲圖7 電阻應變片載荷傳感器測力
拉伸試驗機常用的引伸儀有杠桿式(圖8)、百分表式、光學(馬丁)式(圖9)和電子式(差動變壓器或電阻應變片式,圖10)等。

▲圖8 杠桿式引伸儀

▲圖9 光學(馬丁)式引伸儀

▲圖10 電子式(差動變壓器)引伸儀
比較先進的還有電子拉伸試驗機和自動試驗機。電子拉伸試驗機采用電子技術,對載荷和變形進行精確測控和自動記錄,大多數采用帶有電阻應變載荷傳感器的測力裝置和差動變壓器引伸儀或以自整角機同步伺服方式測量變形。這種實驗機載荷范圍都很款,由于載荷系統跟蹤速度很高,能夠消除一般錘擺式測力計因慣性較大而引起的測量誤差。自動試驗機是將電子計算機用于電子拉伸試驗機上而成的。可以自動測量試樣直徑、安裝試樣,同時自動測定數據并將結果打印出來,全部實驗過程自動完成。

全自動拉伸試驗機
在液壓試驗機上,采用靈敏度和精度都很高的電液伺服控制系統,可以精確控制載荷和變形,試樣性能的非線性變化也能自動補償。這種試驗機可以保證在選定的載荷狀態下或按一定的載荷變形程序進行實驗。
試驗機上夾頭的對中偏差不應超過±0.5mm,以免產生附加彎曲而影響實驗結果。為了在試樣拉伸過程中自動調節上、下夾頭的同心度,一般試驗都帶有球面支座夾頭,使用時,在球面接觸處需涂以潤滑脂,以保證靈活自如。

四、應力-應變曲線及其力學性能指標
典型的的靜拉伸試樣采用標長為l0,截面積A0為光滑圓柱試棒進行軸向拉伸試驗,低碳鋼的負荷 F 與變形 Δl 曲線如圖11所示,由圖11可得應力(σ=F/S0)和應變(δ=Δl/l0),σ-δ曲線圖,見圖12。

▲圖11 低碳鋼載荷-變形曲線

▲圖12 低碳鋼應力-應變曲線
具有鐵素體組織或回火索氏體組織的各種結構鋼、低合金鋼的應力-應變曲線具有類似于上述曲線的形狀。除此之外還有圖13所示的幾種類型的應力-應變曲線。

▲圖13幾種類型的應力-應變曲線
硬化程度較高的鋼,變形時沒有物理屈服行為,如圖13a曲線所示。經過冷變形的低、中溫回火的結構鋼、高溫回火或退火的高碳鋼大都屬于種類型。
受到強烈硬化的材料(如經過大變形量冷拔過的鋼絲),出現圖13b所示的曲線。
對于典型的脆性材料(如淬火的高碳鋼等)出現圖13c所示的曲線,即在拉伸過程中不出現明顯的塑性變形,彈性變形后立即斷裂。
對于形變強化能力很強的鋼(如高猛耐磨鋼等),會出現圖13d所示的曲線,斷裂前不形成縮頸。
在圖12 所示的典型的靜拉伸應力-應變曲線中,不同的力學性能指標,分別用不同的符號在圖中標注了出來。下面分別加以討論。

拉伸試驗后的試樣形貌
4.1 彈性模量
彈性模量標記為E。圖中Oc與橫軸的夾角為α,則:E=tanα=σ/δ。
E代表材料產生單位彈性變形所需應力的大小,它代表了材料剛度的大小。彈性模量 E 反映了材料原子間結合能力(或叫鍵合力),因此,一般合金化、熱處理、冷熱加工等強化手段對 E 的影響不大。所以它是一個對成分、組織、狀態不敏感的力學性能指標。
對于空間飛行器用材料,不僅需要考慮剛度,還要考慮密度,通常使用比彈性模量,即:
比彈性模量=彈性模量/密度
幾種常用結構材料的比彈性模量列于表3。由表3 可以看出,大多數金屬材料的比彈性模量值相差不大,只有鈹特別大。一些陶瓷材料的比彈性模量也很大,這是近年來陶瓷在空間技術上廣泛應用的原因之一。
▼表3 幾種常用材料的比彈性模量

彈性模量的測定可通過精確和放大的應力-應變曲線來計算出來。但是一般是用動力學方法(如聲學共振法)來測定。動力學方法與靜拉伸試驗測定的結果相差大約不超過0.5%。
4.2 屈服點、屈服強度
有屈服效應或者稱物理屈服現象的材料,在拉伸過程中載荷不增加或有所下降,而試樣繼續變形的最小載荷所對應的應力稱為屈服點σs,或下屈服點σsl(圖14)。不采用載荷開始下降的上屈服點σsu的原因,在于拉伸試樣的過渡圓角大小、試樣軸線與載荷軸線的重合度、試樣表面粗糙度均影響上屈服點的大小。在正常試驗條件下,下屈服點再現性比較好,由于屈服應變較大,故觀測比較方便。

屈服點按照定義應該是材料開始塑性變形的應力,只有單晶體的屈服點才有物理意義。它對應著位錯源開動,開始滑移的臨界應力。而在實際多晶體中,由于晶體位向的差別,使各晶粒不可能同時發生塑性變形。當只有少數晶粒開始塑性變形時,宏觀并未顯示屈服,只有較多晶粒產生塑性變形時,在宏觀的的應力-應變曲線上再能顯示出來。因此,工程上常用的屈服有三種:
4.2.1比例極限(σp):
應力-應變曲線上符合彈性關系的最高應力(圖12中Oa)。超過σp時即認為開始屈服。
4.2.2彈性極限(σel):
試樣加載后再卸載,以不出現殘留的永久變形為標準,殘留能夠完全彈性恢復的最高應力,超過 σel 時,即認為才開始屈服。
工程上之所以要區別他們,原出于適用目的。例如槍炮材料要求高的比例極限來保證彈道的準確性,彈簧材料要求有高的彈性極限以保證其可靠性。
4.2.3屈服強度:
以規定發生一定的殘留変形為標準,如通常以0.2%殘留變形的應力作為屈服強度,符號為σ0.2。
這三種標準在實際測量上都是以殘留變形為依據,只不過規定的殘留變形不量同,將屈服強度規定為三種情況:
1)規定非比例伸長應力(σp),試樣在加載過程中,標準部分的非比例達到規定比例(以%表示)的應力,例如σp0.01、σp0.02等。
2)規定殘留伸長應力(σs),試樣在卸載后,其標準部分的殘留伸長達到規定比例時的應力,常用σs0.2。
3)規定總伸長應力(σt),試樣標準部分的總伸長(彈性伸長加塑性伸長)達到規定比例時 的應力如σt0.5。這時應注意σp和σt是在試樣加載時直接從σ-ε(F-Δl)曲線上測量的,詳見圖15。而 σt 要求卸載測量。之所以規定里一種 σt 的測量方法,一方面是為了測量方便,另一方面是有利于材料(灰鑄鐵、黃銅等)的應力-應變曲線中,本來就沒有直線部分,所以,用 σt0.5 表示其屈服強度。

▲圖15 用作圖法求條件屈服強度
屈服點或屈服強度對材料的成分、組織、狀態、溫度和加載速度因素十分敏感,通過合金化、熱處理、冷熱加工等手段可以大幅度地加以改變。
屈服點或屈服強度是機械設計中關于材料的最重要的性能指標之一。對于塑性材料,強度設計以屈服點為標準,規定許用應力[σ ]=σs/n,n為安全系數,一般取 2 或者更大。這表示許用應力不高于屈服強度的一半,或者更低。屈服點或屈服強度不僅直接用于機械設計,在工程上也是材料的某些力學行為和工藝性能的大致度量。例如材料屈服點或屈服強度增高,對應力腐蝕和氫脆就敏感;材料屈服點或屈服強度低,冷加工成型性能和焊接性能就好。
4.3 斷后伸長率與斷面收縮率
斷后伸長率 δ 與斷面收縮率 ψ,表示斷裂前金屬塑性變形的能力。材料塑性是工程材料的重要性能指標。這是因為:
①材料具有一定的塑性,當機件或構件偶爾受到過載荷時能發生塑性變形,它與形變強化相結合,保證了機件的安全而避免突然斷裂。
②由于機械構件不可避免地存在截面過度、油孔、溝槽及尖角等,加載后這些部位出現應力集中,具有一定塑性的材料,可以通過應力集中處的局部塑性變形來削減應力峰,使應力重新分配,從而保證零件不致早期開裂。
③材料具有一定的塑性,有利于某些成型工藝(如冷沖壓、冷彎、校直等)、修復工藝、和裝配工藝的順利完成。
④ 塑性指標還是金屬生產的質量標志,它反映出材料冶金質量的好壞(純凈度、加工質量與熱處理水平)。
斷后伸長率 δ 表示實驗前后試樣的相對伸長,計算公式為
lt-l0 δ=———×100% l0
斷面收縮率 ψ 表示試樣截面在試驗前后的相對減縮量,計算公式為:
St-S0
ψ= - ———×100%
S0
l0、S0 分別為試驗前試樣的原始標距長度、原始截面積 ,lt 、St分別為試樣斷裂后標距伸長后的長度和截面縮小后的截面積。
由圖16可以看出,在靜拉伸變形過程中,可以分為均勻變形(即標距內試樣截面均勻變化)和局部集中收縮變形兩部分。
縮頸前均勻變形階段的最大相對伸長率可表示為:
ΔlB δB=———
l0
局部集中變形階段的相對伸長率可以表示為
ΔlN δN=———
l0
故,總斷后伸長率δK為 δK=δB+δN

▲圖16 拉伸過程中截面變形情況
在一般工程手冊與資料中,斷后伸長率用 δ 表示,但由于斷后伸長率不僅與試樣標距長度 l0 有關,還與試樣面積有關。因此,國際上規定, l0/√(S0)(標距與原始截面積的平方根之比)為一常數時,測得的斷后伸長率才可以相互比較。我國規定l0/?(S0)=5.65或11.3,他們分別代表 l0=5d0 和 l0=11d0 兩種圓形式樣,求出的斷后伸長率分別用 δ5 和 δ10 表示。由于試樣局部集中變形的程度遠遠大于均勻變形,因此在總的斷后伸長率中,隨著標距長度縮短,局部集中變形引起相對伸長的δN所占的比例增大,故一般δ5大于δ10。對于不同材料,只有 δ5 和 δ5 比較或 δ10 與 δ10 比較才是正確的。
同樣,斷面收縮率也可以看成有兩部分組成,即
ψK=ψB+ψN
研究表明,均勻變形階段的 ψB 主要取決于金屬基體相的狀態,它反映了基體已被強化程度的大小(圖17)。ψN 代表金屬集中塑性變形能力的大小,第二相的數量等因素對它有明顯影響(圖18)。

▲圖17 不同碳含量碳鋼淬火不同溫度回火后的ψB值

▲圖18 不同碳含量剛淬火、600℃回火后ψB和ψN的變化
在試樣在 l0=10d0 條件下,斷后伸長率δK中δB占的比重大于δN,因此它主要反映了材料均勻變形的能力;而斷面收縮率 ψK 中,ψN 所占比例遠大于ψB,它主要反映了材料局部集中變形的能力。
五、正應力-應變曲線
正應力為 : σ=F/S
式中S——當試樣受載荷F作用時的截面積。
應變以相對伸長 e 或斷面收縮率 ψe 表示。它的定義如下,若長度為 l0 的試樣受力 f 作用后伸長至 l ,當有一增量 dF 時,試樣長度相應變化 dl ,所以de=dl/l 故相對伸長為:

為了避免出現負號通常用-ψe表示
正應力-應變曲線(σ—e曲線)如圖19所示。

▲圖19 正應力-應變曲線(σ—e曲線)
5.1 形變強化指數與形變強化模數
在圖19中,OA是彈性變形部分,AB段曲線可以表示為
σ=Ke?
式中的n為形變強化指數,可以表征在均勻變形階段金屬形變強化能力。B點以后開始產生縮頸,DC段表示局部集中變形部分,它的斜率D=tanα 為一常數,稱為材料的形變強化模數,他表示材料局部集中變形階段的形變強化能力。
5.2 抗拉強度
抗拉強度又稱強度極限,以σb表示,它是在試驗過程試樣所承受的最大載荷FB與試樣原始截面積S0的比值,即σb=FB/S0 。他表征著一定界面的材料所承受的最大載荷,故,它有著重大的實用價值。
六、缺口拉伸與缺口偏斜拉伸
生產上絕大多數機件不是截面均勻、無變化的光滑體,而是存在截面變化的,如鍵槽、油孔、臺階、螺紋及退刀槽等,這種截面的變化可以簡稱為缺口。由于缺口的存在,會使靜拉伸時的力學行為發生變化。分述如下:
6.1 缺口效應
由于缺口的存在會引起一下一些效應:
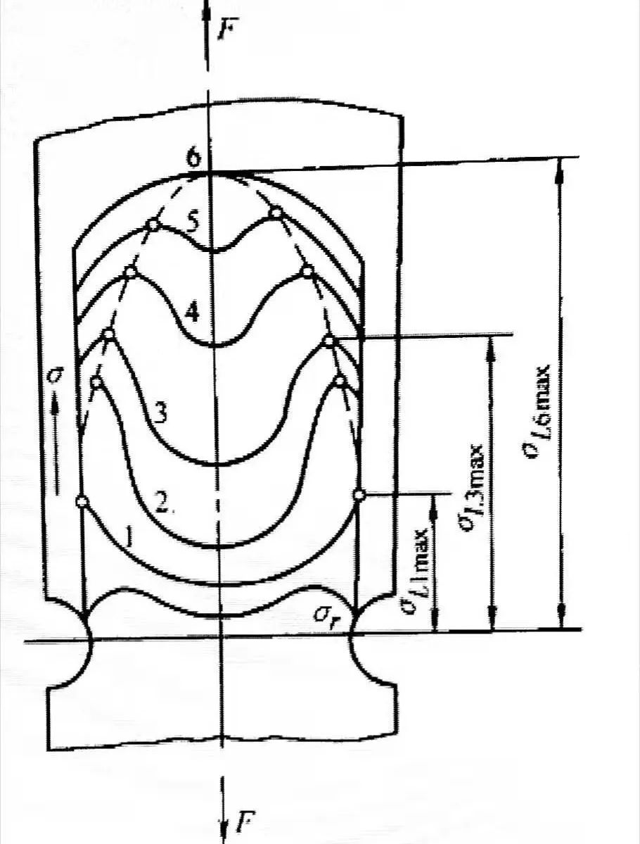
1)缺口引起應力集中,使缺口頂端的最大應力大于該截面上的平均應力,如圖20所示。

▲圖20 缺口試樣拉伸時最小截面上的應力分布
圖中 σl 為軸向應力,σt為切向應力,σr為徑向應力。為了描寫應力集中情況,采用缺口截面上最大軸向應力σLmax和該截面上的平均應力σm之比,稱為應力集中系數K了,即:
Kl=σLmax/σm
2)缺口的存在,引起多軸應力狀態。由圖20可以看出,缺口拉伸時,不僅存在軸向應力,還存在切向應力和徑向應力,出現所謂多軸應力狀態。由于這種多軸應力的存在,使抗拉強度升高,并使材料向脆性狀態轉化。
6.2 缺口靜拉伸試驗
為了測定金屬材料在靜拉伸下對缺口的敏感程度,要進行缺口拉伸試驗。缺口的形狀件圖21 。

▲圖21 缺口拉伸試樣的缺口形狀
缺口試樣在拉伸過程中,在彈性狀態下的應力分布如圖20所示。當發生塑性變形后,將發生如圖22所示的變化。隨著塑性變形的發展,塑性區逐步向心部發展,在塑性區與彈性區交界處出現最大應力,當這個最大應力超過材料斷裂強度時,便在該區發生斷裂。不難看出,若不發生塑性變形或很少發生塑性變形斷裂,則斷裂起源于缺口根部表面。塑性越好,斷裂源越向中心移動。

▲圖22 缺口試樣塑性變形時的應力分布
通常用缺口強度比 NSR 作為衡量靜拉伸下缺口敏感指數
NSR=σbN/σb
式中σbN——表示缺口拉伸試樣的抗拉強度。
通常的缺口拉伸試樣形狀如圖23所示。

▲圖23 缺口拉伸試樣
一般認為,NSR<1,即σbN<σb,說明材料對缺口敏感。事實上,表現為這種情況的金屬并不多,大多為已知的所謂脆性材料,如鑄鐵、淬火加底紋回火的高碳鋼。絕大多數金屬NSR>1,這時因為只要缺口處發生少量塑性變形就可以使NSR>1,但這并不能說明金屬對缺口不敏感。因此,單純憑缺口拉伸試驗,按NSR>1來選材和制定工藝是不可靠的。
6.3 缺口偏斜拉伸試樣
對于一些重要的承載螺釘,在制造安裝和使用過程中,不可避免地存在因斜偏影響帶來的附加彎曲。為此,應當進行圖24所示的缺口斜偏拉伸試樣。

▲圖24 缺口斜偏拉伸試試驗裝置
1-試樣 2-螺紋夾頭 3-試驗機上夾頭 4-墊圈
圖24中墊圈4為具有一定斜角φ的墊圈,只要改變墊圈的角度即可改變試樣偏斜角度。最長用偏斜角度為φ=4°或8°,相應的缺口強度以
典型的光滑試樣的歷史端口如圖25所示。端口由三部分組成,即中心纖維區、放射區和剪切唇區。斷裂起源于中心纖維區(它呈粗糙纖維狀、暗灰色、環狀),當纖維區達到一定尺寸(即臨界尺寸)后,裂紋開始快速擴散形成放射區,最后斷裂形成剪切唇(剪切唇表面較光滑,與拉伸應力軸的交角月45°)。中心纖維區和剪切唇區是材料任性斷裂的宏觀特征,而放射區是脆性斷裂的宏觀特征。

▲圖25 典型的光滑試樣的拉伸端口 放射區的特征是沒有放射花樣,每根放射花樣稱為放射元。放射方向與裂紋擴展方向平行,垂直于裂紋前言的輪廓線,并逆指向裂紋源。放射元是一種剪切撕裂脊,撕裂時的塑性變形量越大,撕裂功也越大,其放射元也將月粗大;反之,若撕裂時塑性變形量越小,則撕裂功也越小,其放射元也越細。所以隨著溫度降低、強度提高及塑性降低,放射元將由粗變細,對于極脆材料則放射花樣消失。
8.2 帶缺口的圓形拉伸試樣斷口
帶缺口的圓形拉伸試樣,由于缺口處應力集中,裂紋直接在缺口或缺口附近產生。此時其纖維區不是在試樣端口中央而是沿圓周分布,而后向內部擴展(圖26)。若缺口較鈍,則裂紋仍可能在試樣中心形成。缺口裂紋也可能以不對稱方式擴展,形成較為復雜的斷口形貌。

▲圖26 缺口拉伸試樣的斷口形貌示意圖
8.3 矩形形拉伸試樣斷口

矩形拉伸試樣圖樣
矩形拉伸試樣的斷口,同圓形一樣,也有三個區域,如圖27所示。其中也有纖維區呈橢圓形,放射區則出現“人字紋” 花樣,人字紋的尖端一般來說指向裂紋源,靠近表面的切斷區為最后破斷區。

▲圖27 矩形拉伸試樣端口形貌示意圖
一般來說端口都可能有三個區域,但隨溫度降低,材料強度增高或塑性下降;缺口尖銳程度增大或應力狀態變硬、加載速度增大,則脆性特征區(纖維區和我剪切唇)縮小;反之,則出現相反的情況。有時候可能只出現脆性特征花樣,有時候可能只出現人短特征花樣。
帶缺口或帶表面缺陷的矩形試樣的斷口如圖28所示。裂紋不再發生在中心部位,而發生在缺口根部或表面缺陷處。

▲圖28 帶缺口或有表面缺陷的矩形史昂斷口
九、幾種常用材料的靜拉伸數據 靜拉伸試驗可以的帶材料最基本的力學性能(如強度、塑性指標),把幾種常用鋼材的靜拉伸數據列于表4 。
▼4 幾種常用鋼材的靜拉伸數據

十、影響靜拉伸試驗性能數據的主要因素 單向拉伸試樣是應用最廣的一種力學性能試驗,試驗可以得到材料最主要的一系列性能數據,如彈性模量、泊松比、屈服強度、伸長率與斷面收縮率等。這些數據是控制生產過程中材料質量,評價新材料和機械設計的主要依據。因此,保證試驗數據測定準確十分主要。下面討論影響試驗數據準確性的一些因素。10.1 試樣位置與方向的影響
熱加工和機械加工過程不同,材料不同部位的顯微組織不同,對性能的測定斗有較大一些。如從鑄件上取樣時,鑄件表面冷速大,近表面取樣強度就比較大。金屬軋制時,經常出現晶體織構現象,和夾雜物的纖維化,因此,沿纖維方向的強度,就高于其垂直方向。
10.2 試樣形狀與尺寸的影響
圓形試樣和方形或矩形截面試樣,其塑性指標(伸長率和斷面收縮率等)是不同的,兩者沒有可比性。由于圓形截面的試樣在拉伸加載時,截面自由收縮,不出現多向約束(或多向應力),變形相對比較自由。尺寸不同(截面積不同和長度不同)的試樣,其強度和塑性數據也不盡相同,同樣截面尺寸的短棒拉伸試樣的伸長率明顯高于長試樣。過大截面的試樣,由于應力狀態發生了變化,容易形成多向應力狀態,難以自由變形。因此試樣尺寸不同,其性能是不同的,兩者不可比較。必須嚴格按國標(GBT228-2002)規定的試樣尺寸進行試驗。10.3 應變速率、表面粗糙度和材料脆性的影響 應變速率是材料生產、制造和試驗的重要依據,常規的拉伸試驗只規定應變速率的上限。對大多數材料來說,在較高的變形速率下強度趨于增加,塑性和延性影響較小,應變速率影響最敏感的是屈服強度(或流量應力),隨著應變速率增高,屈服強度明顯增高。表面粗糙度對拉伸試驗數據會產生影響,表面粗糙度值高或表面存在刀痕或碰傷,會形成局部應力集中,使強度和塑性有所下降,這一趨勢對于塑性較差的高強度或超高強度鋼,或陶瓷材料等顯得特別敏感,會大幅度降低其強度值因此,該類材料進行拉伸試驗時,要特別注意試樣的表面粗糙度。 對于韌性很差的材料(如工磨具鋼、硬質合金、陶瓷等)進行路試試樣時,其數據分散、誤差大,難以得到準確的數據。這是因為,對于這類脆性材料,要求實驗機上下夾頭對中十分嚴格,一般情況下難以滿足,往往因為上、下夾頭軸線不同心而引起附加彎矩,是測定值大幅度下降。這種情況下,與其采用拉伸試驗測定材料的力學性能,不如采用彎曲試驗。彎曲試驗測的試驗數據相對拉伸而言,分散性小數據集中,準確度高。
十一、拉伸試驗中的計算機控制 利用計算機技術,可以大大加強電子拉伸試驗機的的各種功能。通過各種傳感器、測量通道與計算機連接,使試驗機具有載荷、位移、應變等多種控制模式。同一試驗機的不同階段可以采用不同控制模式,可進行多種控制模式間的無沖擊轉換,完成多種復雜試驗。還使試驗機具有安全保護功能(如上、下限位,位移限制、過載保護,急停等)、開機自診斷功能、錯誤出路功能、自動化標定和存儲功能。 通過計算機控制,不僅是試驗機能完成拉伸、壓縮、彎曲、剪切、剝離、撕裂和等速度變形,恒試驗力、恒變形等速率試驗力循環、等速率變形循環等試驗;還能完成各種試驗數據分析、處理、輸出等功能。 這樣使拉伸試驗機不僅可以實現多功能的自動控制,環能對試驗結果進行自動采集、數據處理和存儲,打印報告、存儲于檢索試驗結果。圖29 為拉伸試樣機的計算機控制框圖。

圖29 拉伸試驗機的控制框圖
下一條:精密光亮管市價反彈空間
服務熱線:18322759777
